No products in your Cart.
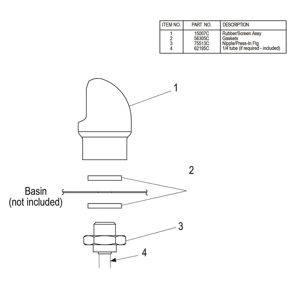
Complements style of the cooler
Able to be keyed into position to prevent rotation
Chrome plated
One-piece construction bubbler for use with our water coolers, bottle filling stations and drinking fountains
Vandal resistant
